上海沃华产品技术服务有限公司,为您提供一站式的注册服务!
全国统一免费服务热线:400-016-1080 021-51088618
Chinese
/
English
首页
关于我们
公司简介
企业理念
精彩瞬间
我们的服务
服务范围
医疗器械CFDA注册
医疗器械欧盟CE认证
俄罗斯联邦医疗器械注册
美国医疗器械FDA注册
进口医疗器械注册代理咨询服务
化妆品和消毒品注册申报
客户案例
新闻动态
公司动态
行业动态
政策法规
下载中心
资料下载
证书下载
联系我们
联系方式
在线留言
沃华 ▪ 中国医疗器械认证的开拓者和领先者
医疗器械注册 ▪ 为您的安全承诺
医疗器械出口认证 ▪ 出口方案解决专家
医疗器械GMP质量管理规范 ▪ 我们力求精益求精
培训研讨会
医疗器械生产质量管理规范GMP培训
GB4793.1 测量、控制和实验室用电...
FDA QSR820美国医疗器械质量管理体系
FDA美国医疗器械注册法规培训
MDD欧盟医疗器械指令培训
植入性医疗器械实施细则培训
IEC60601-1-2 /YY0505医疗器械电...
IEC60601-1/GB9706.1医用电气设备...
ISO14971/YYT0316医疗器械风险管...
ISO13485/YYT0287医疗器械质量管...
新版医疗器械EMC标准培训
服务范围
医疗器械CFDA注册
境内医疗器械注册代理服务
境外医疗器械注册代理服务
医疗器械生产许可证咨询服务
【新】医疗器械注册人制度咨
医疗器械经营许可证咨询服务
进口医疗器械注册代理咨询服务
进口医疗器械注册代理服务
进口体外诊断试剂注册代理咨
已获得上市许可的境外医疗器
进口二、三类医疗器械注册流
医疗器械欧盟CE认证
医疗器械CE认证简介
体外诊断医疗器械指令IVDD98
有源植入医疗器械指令AIMDD9
医疗器械欧盟授权代表
美国医疗器械FDA注册
美国医疗器械FDA510K注册咨
美国FDA质量管理体系QSR820
食品包装材料的FDA检测注册
激光产品FDA注册
俄罗斯联邦医疗器械注册
欧亚经济联盟EAEU MDR注册
俄罗斯医疗器械注册
哈萨克斯坦医疗器械注册
白俄罗斯医疗器械注册
化妆品和消毒品注册申报
进口化妆品申报注册服务
国产化妆品申报注册服务
化妆品质量管理体系GMPC认证
消毒产品备案注册
证书查询
会员登录
在线留言
联系我们
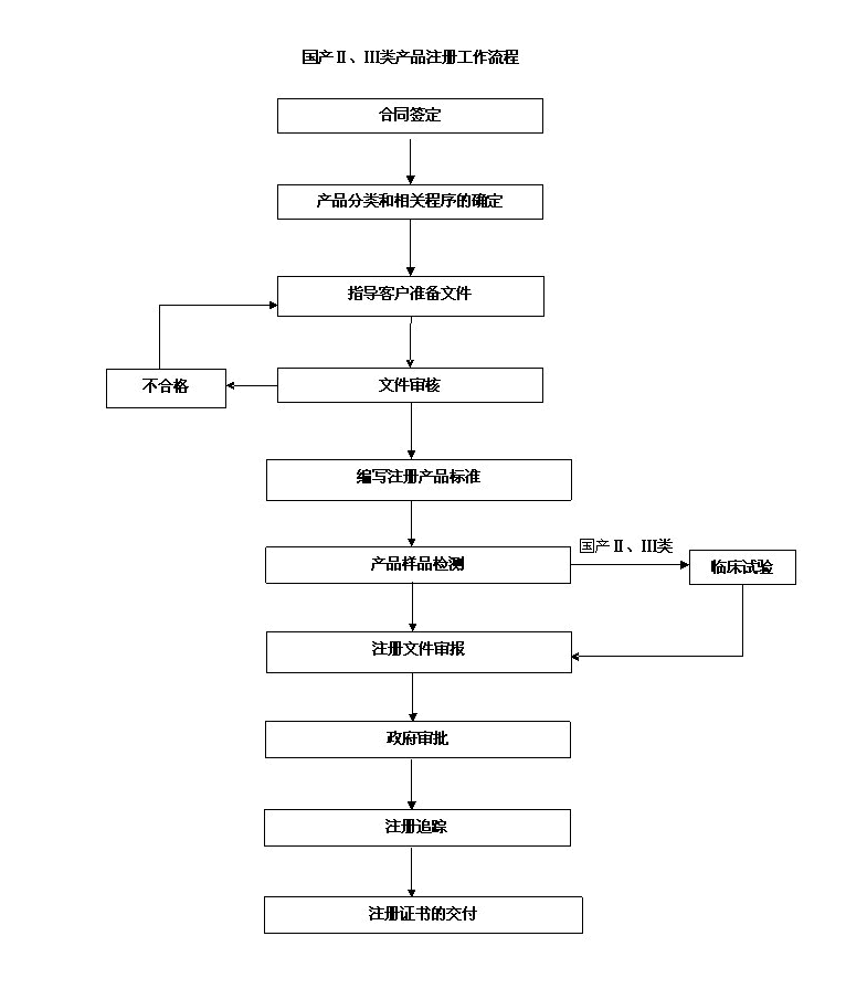
境内医疗器械注册代理服务
返回首页
上一篇:暂时无相关信息
下一篇:
境内一类医疗器械注册工作流程
企业介绍
|
法律声明
|
网站地图
|
认证查询
|
资料下载
|
在线留言
|
联系方式
上海沃华产品技术服务有限公司 Copyright 2026
www.mdd-ce.com
, 版权所有
沪ICP备16037738号-1
电话:021-51088618;400-016-1080 地址:上海市长宁区天山路641号慧谷白猫科技园1号楼701室
友情链接:
CE认证
|
BIM咨询
|
深圳注册公司
沪公网安备 31010502002363号